天津-凤江湖论坛,哈尔滨一品阁论坛,51龙凤茶楼论坛网襄阳,一品楼免费信息论坛春风阁(全国信息)

  1. 400-816-1636

菜单

扫一扫关注公众号

太阳辐射仪器Solar Devices

TBB-2系列净全辐射表/四分量净辐射传感器

净全辐射由天空(包括太阳和大气)向下投射的和由地表(包括土壤、植物、水面)向上投射的全波段辐射量之差。TBB-2系列净全辐射表/四分量净辐射传感器是市场优秀的四分量净辐射传感器。它使用2个朝上和2个朝下的辐射传感器,可同时测量太阳的短波辐射、长波辐射、短波反射辐射、长波反射辐射、短波反射率、长波反射率以及净全辐射等多个辐射值。因其测量精度高、??榛杓啤⑽拊垂ぷ髂J?、性价比高等优点而广受欢迎。主要用于科学级能量平衡和表面通量研究,同时在气象、光伏、园艺、农业和工业等领域也得到了广泛的使用。

一、概述

  四分量净全辐射由天空(包括太阳和大气)向下投射的和由地表(包括土壤、植物、水面)向上投射的全波段辐射量之差。TBB-2系列净全辐射表是市场优秀的四分量净辐射传感器。它使用2个朝上和2个朝下的辐射传感器,可同时测量太阳的短波辐射、长波辐射、短波反射辐射、长波反射辐射、短波反射率、长波反射率以及净全辐射等多个辐射值。因其测量精度高、??榛杓?、无源工作模式、性价比高等优点而广受欢迎。主要用于科学能量平衡和表面通量研究,是科研领域的理想仪器。同时在气象、光伏、园艺、农业和工业等领域也得到了广泛的使用。

二、基本原理

  TBB-2系列净全辐射表由两个短波辐射表和两个长波辐射表组成。短波辐射表由石英罩、感应元件、表体等部件组成。长波辐射表由硅制弧形滤光罩、感应元件,铂电阻、表体等部件组成。感应元件由绕线电镀式多结点热电堆组成,感应面涂有进口高吸收无光黑色涂层,黑色涂层吸收辐射能,使热电堆两端产生温度差,并输出温差电动势,与接收的辐射强度成正比。每个长波辐射表的腔体内将一铂电阻嵌入热电堆边缘冷结点处,作为温度补偿使用。

  每只辐射表都分别有各自的灵敏度系数和输出导线,可单独输出各个数据,同时通过各自的输出数据进行组合,分别能测量短波辐射、短波反射辐射、长波辐射、长波反射辐射、全波辐射、净全辐射、短波反射率和长波反射率。

  净全辐射为正表示地表增热,即地表接收到的辐射大于发射的辐射,净全辐射为负表示地表损失热量。

三、技术指标 
名称
参数
测量要素
短波辐射、短波反射辐射、长波辐射、长波反射辐射、全波辐射、短波反射率、长波反射率、净全辐射
太阳光谱范围
0.3~3μm(短波)
3.5~50μm(长波)
灵敏度
7~14μV•W-1•m2(短波)
2~10μV•W-1•m2(长波)
信号输出
辐射表:0~20mv
补偿温度:85~138.5Ω
年稳定性
≤±2%
非线性
≤4%
测量精度
≤±5%
测量范围
-2000W~2000W
补偿温度
Pt100
工作湿度
0%~100%RH
工作温度
-40至80°C
响应时间
≤30S
调平方式
2轴水平仪组件
重量
3kg
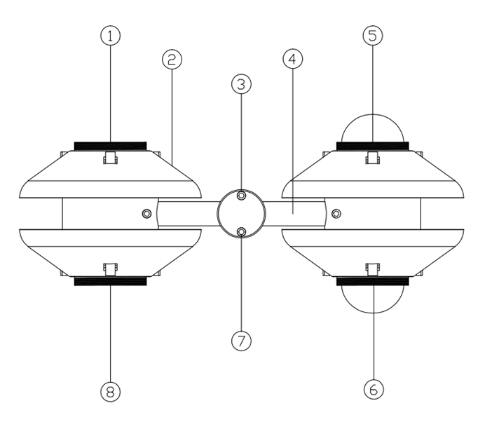
四、结构组成

 (1)朝上长波辐射表,(2)遮阳板,(3,4,7)用于x轴和y轴的调平组件,(5)朝上短波辐射表,(6)朝下短波辐射表,(8)朝下长波辐射表

五、产品优势

1、辐射表内部增加了温度补偿装置,保证测量精度的精准性;

2、性价比高,性能稳定;

3、重量轻,一体化结构设计,安装成本低;

4、模块化设计,易于维护;

5、同时测量多个辐射要素;

6、无源工作模式,可随时随地测量;

7、符合WMO世界气象组织规范(CIMO Guide);

8、净全辐射表表面静电喷塑,其防腐蚀能力极强,.适用于各种恶劣环境。

六、应用领域

四分量净辐射传感器可广泛应用于气象、农林业、建筑科学、道路安全等领域的蒸腾计算、热应力和热平衡的研究、高速公路状态监测等领域。